
炒股就看金麒麟分析师研报,巨擘,专科,实时,全面,助您挖掘后劲主题契机!
开始:宾曰语云
3月11日,对于“盈科律所雇主融资担保暴雷,且已自首”的传闻在网上飞快发酵。
{jz:field.toptypename/}网传截图包括“盈科暴雷了”、“老梅拿着讼师费去融资,还作念了担保”、“目下40亿洞窟、已自首”等多项传闻细节。其中“老梅”指盈科讼师事务所党委布告、主任、寰球董事会主任梅向荣。
据红星成本局报谈,3月11日中午,记者就此事拨打盈科讼师事务所北京总部电话,接线东谈主员暗示,目下不便捷作念出任何回复和接管采访,后续会出公告。记者还拨打了盈科讼师事务所网站发布的法律盘考热线,接线的是盈科长沙分所的职责主谈主员,对于网传音问,其暗示目下莫得外传相干音问,并称所有这个词盈科齐归梅向荣责罚。
另据界面新闻,记者致电北京盈科讼师事务所总部,对方暗示:“目下不便捷接管任何采访和回复。”记者在采访中了解到,濒临传闻,多名盈科责罚层及合资东谈主在与业内东谈主士暗里相通中暗示未便回复,但均未对传闻本人提议反驳。
据蓝鲸新闻报谈,记者致电盈科讼师事务所官网法律盘考电话进行核实,接线职责主谈主员回复称,目下律所平常营业。随后,记者又拨打北京市盈科讼师事务所总机电话,当问及相干传闻时,一位职责主谈主员仅轻便回复“假的”,当场便挂断电话。一位上海盈科讼师事务所的职责主谈主员告诉记者,盈科在宇宙各地的律所齐是零丁的,目下对咱们莫得影响,其他音问不知情。
此前,据21世纪经济报谈,盈科律所针对传闻暗示“不信谣、不传谣,盈科和之前相通计较平常,所里也莫得发任何告知”。
由于讼师数目渊博,盈科讼师事务地方业内被称为“天地大所”。
官网流露,盈科讼师事务所树立于2001年,总部位于北京。据其官网先容,NBA篮球下注app最新版该地方中国大陆地区领有127家律所及1家粤港澳联营律所,宇宙猜度25200余名职工。自2022年以来,该地方Global 200寰球讼师东谈主数排行中蝉联第一。
“盈科寰球一小时法律办事生态圈”是其主打的发展格式。据官网先容,约束目下,盈科寰球法律办事汇注已隐蔽104个国度和地区的199个国际城市。在中国大陆地区设有127家分所及1家粤港澳联营所,盈科外洋机构已隐蔽46个国度的57个国际城市。
天眼查流露,北京市盈科讼师事务所树立于2001年,注册成本1000万,负责东谈主为梅向荣,是由资深讼师构成的一家详细性讼师事务所。业务范围包括诉讼及非诉讼两个方面,业务领域波及金融、证券、保障、房地产、公司事务、学问产权、税收、外商投资、跨国特准计较、国际营业、海商海事、外侨法律业务及刑事、民事、行政等法律事务。
盈科讼师事务所网站流露,梅向荣为该律所独创合资东谈主、主任,曾经是寰球董事会主任。中国东谈主民大学讼师学院兼职教唆、清华大学法学院法硕聚积导师。1995年毕业于清华大学汽车工程系,2012年获北京大学光华责罚学院高档责罚东谈主职工商责罚硕士(EMBA)学位,2021年中国政法大学博士在读。
梅向荣自1996年起从事讼师做事,1997年始创“讼师代理购房”法律办事格式。2007年加入盈科讼师事务所后,他推动该所执业讼师从2007年的24东谈主飞快发展到2011年的1600东谈主,奠定了盈科领域化发展的基调。
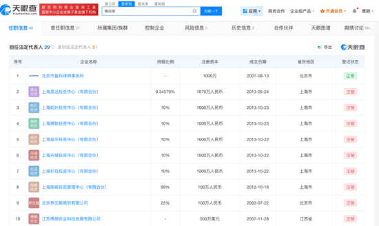
梅向荣除了律所业务外,还涉足汽车、地产等多个行业。他曾在29家公司担任法定代表东谈主,35家公司担任激动。
包括上海荔远投资中心(有限合资)、北京荣创嘉业投资责罚有限公司、天津盈鼎房地产信息盘考有限公司等,其中大多为投资公司。
不外目下大部分公司已被刊出,除了北京市盈科讼师事务所外,仅剩下北京水木华清投资中心(有限合资)、上海盈策投资责罚中心(有限合资)等5家公司。
据蓝鲸新闻报谈,在一家名为北京向荣清能科技有限公司的投资记载中也出现了梅向荣的身影。公开贵寓流露,北京向荣清能汽车科技有限公司是一家专注于氢燃料智能商用车研发与出产的公司。
2021年12月31日,公司举行揭牌庆典并与鑫桥聚积融资租出签署100亿元融资租出公约,推动氢能商用车利用。同期,公司与清华大学车辆与输送学院、亿华通科技等机构诞出产学研配合,促进科技后果改换。
值得详确的是,据“盈科法律微不雅”公众号音问,就在三天前(3月8日),梅向荣出席了盈科北京“三八”妇女节主题算作并致辞。
梅向荣 图片开始:盈科法律微不雅(yingkezb)
另外,盈科法律微不雅在3月11日最新发布的推文中告示,李景武将担任新一届盈科寰球董事会主任。
客服QQ:88888888
此前该职务由梅向荣担任,这次东谈主事养息也意味着,梅向荣不再担任盈科讼师事务所寰球董事会主任一职。盈科讼师事务地方推文中并未说起梅向荣,仅暗示,董事会成员本着公谈、公道、公开的原则,有序开展董事会换届职责。
约束发稿,盈科讼师事务所官方尚未就传闻发布任何致密声明,逐日经济新闻将执续讲理事件推崇。
海量资讯、精确解读,尽在新浪财经APP
职守剪辑:杨红卜